社区食堂



包括食物管理、食物套餐、食谱管理、食物类型、食物口味、食物口感、禁忌人群、餐厅类型、餐厅管理、用餐时间点设置、餐饮供应商管理、供应状态、供应区域、点餐系统、点餐记录等,把整个餐饮链条智能管理起来,提高餐饮管理效率。

智慧养老平台

惠民社区食堂

办公设备结合移动设备,即可管理门店,销售数据、库存信息。

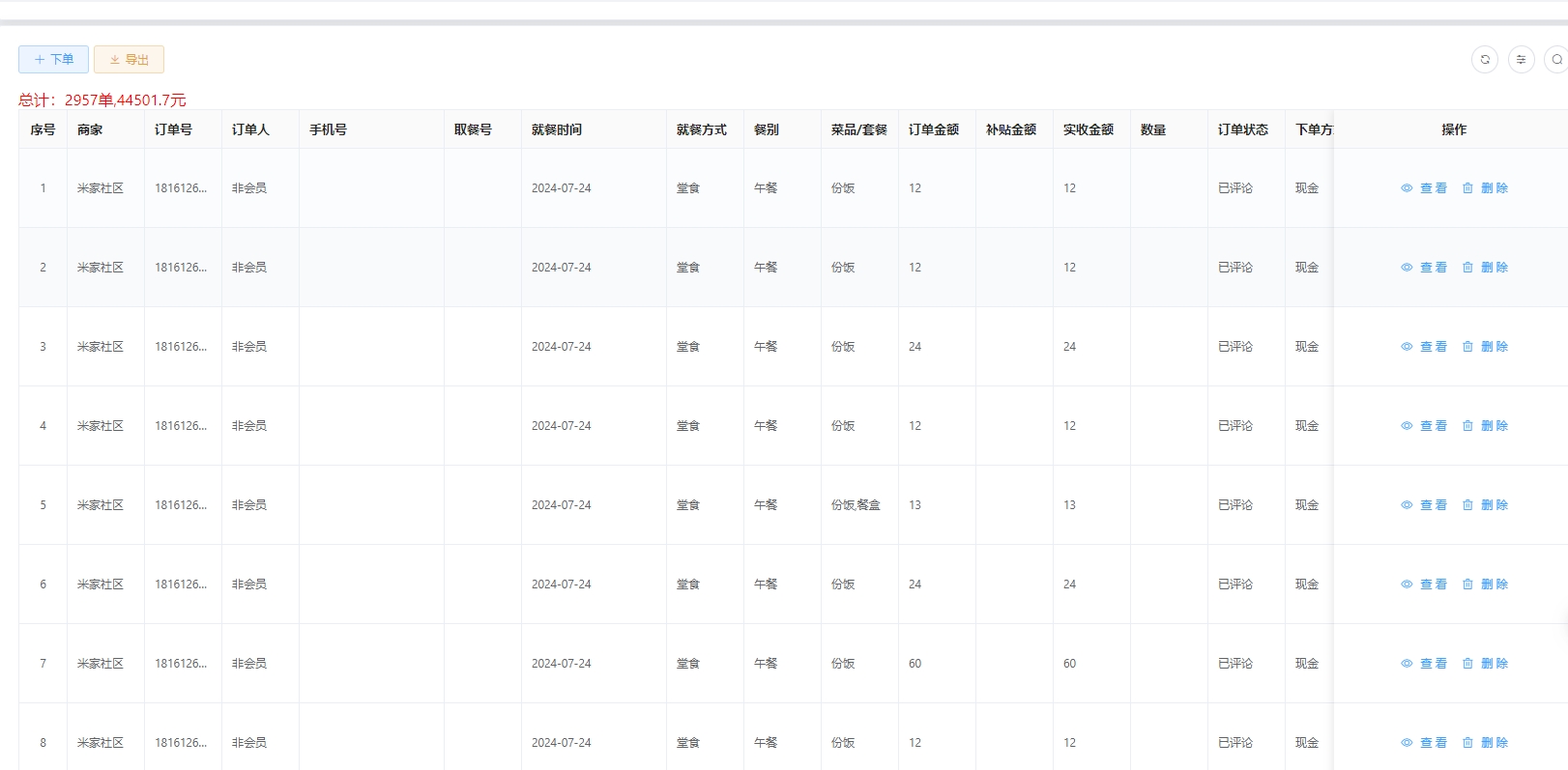
订单管理

订单管理包含自选订单和周期订单。自选订单的列表可以查看用户已购买的自选订单,包括了自提、堂食和送餐的自选订单。周期订单的列表可以查看用户已购买的周期订单,包括了自提、堂食和送餐的周期订单。服务商也可以帮老人进行点餐,老人也可以通过服务中心或者APP进行点餐。

智慧养老平台
立即咨询 注册试用 免费通话